logo    
ws网上商城 ggGlobal
  返回首页   企业信息   新闻资讯   验票闸机   案例分析   相关下载   典型客户   合作代理   联系我们  
 
df
 
 
 
  top 新闻资讯
left10
      技术专栏
      经典案例
      相关下载
      公司新闻
      景区电子门票
      游乐园电子门票
      体育场电子门票
      通道管理系统
      景区一卡通系统
      景区电子商务
      门票防伪
      门禁管理系统
 
新闻资讯 f首页 fd 新闻资讯 fd 技术专栏
right
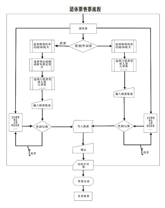
电子门票系统团体票解决方案
                                                                    2008-09-28
     电子门票系统中团体票一般分多人一张或者人手一张票,多人持一张票,如何有效通过,这是考验验票闸机的一个关键指标。 目前大多数公司的电子门票对团体票都没有一个好的解决,大多采用一人一票形式或一票多刷的方式(过一个刷一次门票),本公司经过多年技术攻关成功解决了这一问题,闸机上面设一个显示屏幕,当团体票刷票后,显屏将提示可以通行的人数,此后团体游客可有序通行,过一个人屏幕上显示少一个人,过完显示0,表示不能通行了。  
k
 

 

zf 联系我们 | 典型客户 | 代理加盟| 相关下载 川ICP备020093号
b
Copyright 1998-2055 www.km920.com All Rights Reserved